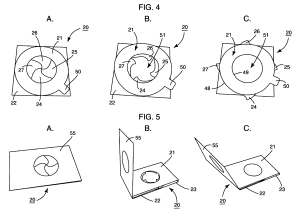
Starburst Patent – US 7637044 B2 Date: April 7, 2015Author: erikhluchan Category: Industrial Design, Patent, Work Tags: advertising, paper, paper engineer, patent, pop-up, printing Post navigation ← Oticon Think Pink Display Cardinal Pop-Out Holiday Card → Share this: Share on X (Opens in new window) X Share on Facebook (Opens in new window) Facebook Like Loading... Related